这几天崔永元手撕范冰冰,让吃瓜群众过足八卦瘾,但是这件事情不会简单地以明星怼来对怼去而结束,如果是阴阳合同,偷税漏税属实的话就上升到了法律层面。
一旦落了实锤,相关的明星或者是可能因此而坐牢,那目前国税局已经表示了将介入调查明星天价片酬引发的争议,也可能会触发行业来的一次大的变局,6月4日影视传媒股份是全部的大跌,与《手机2》有关的华谊兄弟,以及股东里有范冰冰的唐德影视,周一都是跌停了。
昨日崔永元接受了某媒体的采访,透露范冰冰终于致电向崔永元致歉。两人在谈话中范冰冰情绪激动崩溃大哭,表示崔永元误解她了,此举给她带来了很大的伤害。面对范冰冰的泪水,崔永元心软对其道歉,可是道歉已经太晚,范冰冰求放过也不能阻止事态的发展,事情已经不是崔永元能控制得了的了,现在税务局已经介入调查,并表示爆料者应积极配合调查,交出有关证据。
昨晚,又接连爆出两条重磅消息:
1.“范冰冰无锡公司纳税数据:天眼查年报显示2015年收入3500万纳税0元”。
2 .公众号“sir电影”深夜发文称独家采访了崔永元,他已经和范冰冰通过电话并达成和解,同时,崔永元更曝出一对演员夫妇7.5亿阴阳合同的事!
昨日晚间,据天眼查无锡爱美神影视文化公司2015年报显示,范冰冰任大股东的无锡爱美神影视文化有限公司,2015年主营业务收入3468万元,净利润53万元,而纳税总额为0元,公司负债总额为983万元。
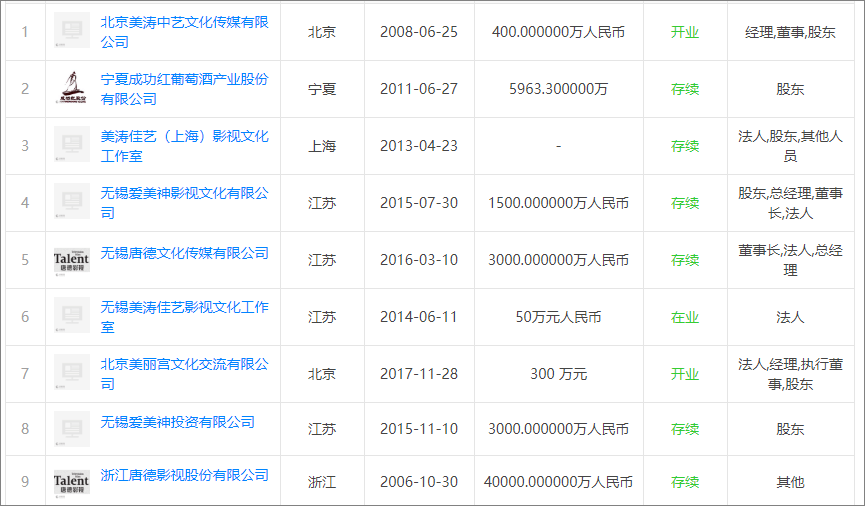
(部分范冰冰名下的企业)
(天眼查显示的无锡爱美神2015年报)
我们深度解析,可以看到:
乍看这样一则信息,看起来是“实锤”了,一家公司一年3500万收入,却自己承认纳税是零,这个证据够确凿了吧?
难怪消息一出,网友都炸了!
不过,也有网友提出了质疑,显示为0并非一定为0。
昨日晚间,范冰冰方面回应称,由于税务局正在核查,所以所有的税收数字不显示,并非纳税额为0。
此时的范冰冰情绪到了崩溃的边缘,一向遇事沉着冷静的范爷也开始狂删负面评论,在她的微博里,所有的负面评论都被秒删!看来事情不是一般的严重啊!
要知道如果当红明星真进去了,等再出来也就基本凉凉了,是不是范冰冰其实已经不重要了,明星的天价片酬已经成为了行业的公开秘密。
明星是流量的保证,粉丝经济导致了娱乐圈行业的畸形生态。虽然崔永元这次只是撕《手机2》的剧组,希望能够同时引发影视行业的一次深刻的思考和改变,这样中国才能够做出真正的好电影,好电视剧!








